The enthusiasm of many of these new hams has created a great deal of activity in home brew antennas, with the J-pole high on their list of favorites.
After several weeks of reading the mail on the repeaters in my area; I discovered the discussions frequently evolve to J-poles, and became curious about why many of the comments were becoming popular and widely accepted. A number of recipes are circulating around for each of the design variations (copper tubing, 450 ohm ladder line, and TV twin-lead), each stressing the critical importance of careful measurement in order to achieve success. It seems there is a mystique associated with tuning them; an albatross the J-pole has carried since it's early beginnings.
Convinced that the J-pole should not be tricky to tune; I began my investigation with an analysis of a known working design by sifting through many of the mysterious claims to the contrary. As my research progressed, I soon became aware that the significance of my findings would be of interest to a much greater audience. Whether you consider the J-pole your friend or foe, you should find this thesis enlightening.
As a consequence of my research, I will attempt to defend the following claims regarding J-pole designs; several of which appear to counter popular opinion:
The "Jays" are sprouting up everywhere and in every form. The most popular of these are constructed from copper plumbing stock for rooftop and attic installations. In time, word got out that these can be constructed from TV twin-lead or open wire ladder line making convenient and transportable antennas for the traveling ham to hang on a curtain in his or her hotel room.
Many "Cookbook" designs exist for the copper tubing version, and most have met with reasonable success when attempting to duplicate them. However; J-poles carry with them a stigma of being tedious to match, with final adjustments being quite critical. This most damaging of the myths associated with J-poles will be dispelled by this presentation.
The reputation of this novel antenna has really taken a beating however, with attempts at constructing them from 300 ohm TV twin-lead. Many are convinced that a sufficiently good match of 1.5:1 or better cannot be achieved, and recommend using 450 ohm ladder line. Even those who have been successful are of the opinion that TV twin-lead designs cannot be easily reproduced.
Nonetheless, many have taken on the challenge of building J-poles from TV twin-lead for a number of excellent and valid reasons:
Note: To avert getting mail about this; the size of plumbing stock (much like specifying board sizes in the lumber industry), only roughly represents the actual dimensions of the material. For example, my "GSR 1/2 inch C.T.S.C PVC" has an inside diameter just under half an inch, and an outside diameter just over half an inch. For the record, the size is not an issue in the context of this application.
You may be be tempted to ask; "Doesn't 50 ohm coaxial cable create a mismatch if the antenna feedpoint impedance is really 73 ohms?" The answer is: "You bet!". The VSWR in this case would be a nominal 1.46:1 (73 divided by 50). Not to worry however... If we vary the dipole length slightly this impedance changes which in turn modifies the impedance presented to the transmission line until something near a 1:1 VSWR is achieved. We do this routinely by shortening our dipoles slightly to obtain something close to 50 ohms.
If making the antenna shorter than a halfwave decreases the feedpoint impedance, it follows that increasing the length increases the impedance. This trend continues as the length approaches a full wavelength. If the conductor were infinitely thin, the impedance would rise to infinity. For reasonable conductor sizes of .001 wavelengths in diameter, the impedance is something less (e.g. on the order of 3500 ohms for 12 gauge wire at 146 MHz). This behavior is illustrated well in a graph of impedance versus wavelength with respect to conductor size in the "Radiation and Propagation" chapter of The Radio Handbook [1].
Relating this to the J-pole... The center-fed full wavelength dipole can be viewed as a pair of halfwave dipoles fed in phase at their ends. Due to the wire gauge used (i.e. 20 ga.) in the manufacture of TV twin-lead, we might anticipate that our J-pole's end-fed halfwave dipole might exhibit a feedpoint impedance somewhat greater than 3500 ohms but less than infinity.
I have been unsuccessful at identifying quantitative works on the feedpoint impedance of an end-fed radiator other than the feedpoint impedance of a ground mounted vertical [2]. The impedance of a quarterwave vertical appears to be approximately half that of a center-fed halfwave dipole. If we assume this relationship between end fed ground referenced radiators and center fed radiators with twice the dimensions of it end fed cousin to remain constant for all wavelengths; then we might anticipate that the impedance of the end-fed halfwave dipole used in the J-pole will be greater than 1750 ohms (half of 3500 ohms).
I ran a quick ELNEC [3] simulation of an end-fed vertical dipole to assess what feedpoint impedance it predicted. I varied the wire size and height above ground to observe the changes, and the results appeared to vary slightly around 7000 ohms.
I used the dimensions from a 450 ohm ladder line design described by Lew McCoy W1ICP in the July 1994 issue of CQ Magazine [4], and performed a source to load evaluation to get an estimate of the load impedance he was seeing. This worked out to be around 5000 ohms. I assumed a perfect match at 146 MHz (mid-band), and a velocity factor of .88 for the 450 ohm ladder line he used in his design.
I selected 5000 ohms as the target feedpoint impedance for my analysis and design, speculating that this value should be achievable based on my analysis of W1ICP's design. I reasoned that if 5000 ohms isn't exactly right, I can compensate for the error by a slight shortening of the length of the halfwave dipole element (remember the trick used to achieve a match between 50 ohm coax and a 73 ohm dipole?)
I could have selected 7000 ohms, but doing so would put the design at risk if I were not able to achieve the higher value in practice. I made a number of assumptions when evaluating W1ICP's design, and 5000 ohms appears to be a reasonable expectation for the load impedance while allowing some margin of error during the construction process. This value lies near the midpoint of 1750 and 7000 ohms.
More importantly, we have established that the J-pole is an end-fed halfwave dipole with a very high feedpoint impedance. Now the task that remains is one of matching this impedance to our 50 ohm feedline.
There are a number of texts that cover the properties of transmission lines in detail [5], [6], [7], but the behavior relevant to the J-pole is what will be reviewed here.
A short at one end of a quarterwave section of transmission line appears as an open circuit (high impedance) at the opposite end. Therefore, a shorted quarterwave transmission line can be used to match the high feedpoint impedance of an end fed halfwave dipole.
Once this is achieved, the feedline must be attached at an appropriate point along the line to produce a match to the characteristic impedance of the feedline (e.g. 50 ohms for RG-58).
From this point, all else appears to be empirical, and iterative. Once any given design is made to work, it is carefully measured and documented. Others who dare to attempt building one, are forewarned that all dimensions must be precisely duplicated if they wish to achieve success.
I certainly can't argue with success, so I will submit that this approach does indeed work.
We start with certain assumptions or apriori knowledge that we have about the load. All we need to know at this point is the load impedance, (we are using 5000 ohms) and that it is non-reactive. It can be assumed to be non-reactive (i.e. a real impedance) because we are designing it to be a resonant antenna. Resonance is achieved when the available power is maximally radiated from a given antenna. This occurs when current flow is maximum. Current flow in an antenna is maximum when it appears as a pure resistance and the reactive components are cancelled. This occurs periodically at half wavelength intervals along any conductor of arbitrary length whether or not it is intended to be used as a radiator.
Technically speaking; the J-pole is fed at a current minima, which is considered the anti-resonant node. The antenna is nonetheless resonant in the sense that the reactive components cancel. This is analogous to series and parallel resonant circuits where resistance is minimum for series resonance and maximum for parallel resonance. In both cases, the reactive components (which are equal and opposite) cancel.
You may be thinking that the assumptions made could be incorrect and ultimately lead to errors in the final design. I will demonstrate that they can actually be off by a significant margin with little consequence. The J-pole design is remarkably immune to errors in these assumptions, and the tuning procedure I will be offering will readily compensate for measurement errors during fabrication and tolerances on the reproducibility of the measurements. Cloning to exact dimensions is hardly worth the bother.
For step 2, we select a transmission line that we wish to use for matching the antenna to our feedline. Since I favor 300 ohm TV twin-lead, this will be our selection.
Finally, we decide the feedline impedance to which we wish to have the antenna matched. The ever popular RG-58 has a characteristic impedance of 50 ohms, so our goal is to match the antenna to an impedance of 50 +j0 ohms. The +j0 term means that we want the feedline to be operating into a non-reactive load. Expressing a complex impedance in this way (called cartesian coordinates), enables us to work with the real (resistance) and imaginary (inductance and capacitance) components independently.
For the benefit of those not familiar with the Smith Chart, have no fear. I will be using these to "illustrate" how the J-pole is designed. To that end I will attempt to explain the concepts and procedures in clear terms. If you accept on faith that the Smith chart works, the graphics should enable you to visualize and better understand the design process. I have also appended a step by step procedure (and necessary calculations) to arrive at the same results without the aid of a Smith Chart.
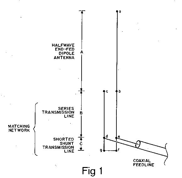
Referring to fig 1, the end-fed halfwave dipole is shown as section (a,b) which has a dimension designated as (A). The bottom of this section (b) is the feedpoint for the antenna which we are assuming to have a terminal impedance of 5000 +j0 ohms (i.e. 5000 ohms resistance with zero ohms reactance).
The end of the halfwave dipole is connected to only 1
terminal (b) of the transmission line matching section
(identified by dimension B) which may seem awkward and invalid.
We can show however that terminal (c) is 180 degrees out of phase
with terminal (b), and can therefore be viewed as a virtual
(ground) return to complete the antenna termination by the
transmission line matching section.
At this point (b,c) in fig 1, we are attempting to
terminate a 300 ohm transmission line into 5000 ohms. This
represents a mismatch (VSWR) of 16.67 to 1 (5000 divided by 300).
Since 300 ohm transmission line was selected for the
matching section, it is prudent for us to use a Smith chart
normalized to an impedance of 300 ohms ( fig 2) Dividing
both the real and imaginary components of all complex impedances we wish
to work with by 300 yields the complex impedance coordinates that
are plotted on the normalized Smith chart. Conversely, both the
real and imaginary components of any complex coordinate pair read
off the normalized impedance Smith chart must be multiplied by
300 to obtain the actual impedance it represents.
We begin by first plotting the two coordinates we know (i.e.
the source and load impedances.) Non-reactive impedances are
located on the j0 axis which is the horizontal line crossing the
center of the chart.
The load (5000 ohms) normalized becomes 16.67. This is
plotted and labeled in fig 2 as (16.67+j0).
The end of the feedline where it connects to the J-pole
(i.e. (d,e) in fig 1) is where the source is referenced. It is
assumed to be (this is the mission of the antenna designer)
matched at this point. The business end of the feedline is
driven by a transmitter with a 50 ohm source impedance; thus
terminating it at both ends in its characteristic impedance.
This is a necessary condition for maximum power transfer from
source (transmitter) to load (antenna.)
The feedline impedance at this point (the antenna feedpoint)
is normalized by dividing 50 +j0 by 300, which becomes (.167+j0).
This is also plotted and labeled in fig 2.
With these two points plotted, our mission is to use 300 ohm
transmission line in a way that enables us to transform the load
impedance (5000 ohms) into an impedance that matches our feedline
(50 ohms). A process called navigating around the Smith chart is
used to find a path that connects the load to the source. This
analogy is meaningful in that all operations follow contour lines
to move from point to point. Lines of constant VSWR are
described by circles centered on the chart with a radius that
represents the VSWR (frequently expressed as reflection
coefficient). These contour lines are easily constructed when
they are needed (using a compass), and are normally omitted from
the chart.
Before we start trying various (and there are many) possible
solutions to this problem, we should first recognize that we have
the benefit of knowing beforehand what the solution should be.
Returning to fig 1, we see that connected between the
load (dipole) and the source (feedline) is a section of 300 ohm
transmission line (b,c,d,e). This section of transmission line
is a series connection between the source and load. Since the
length is physically very short, we can assume it to be lossless
(having little DC resistance) and therefore need only consider
how the reactance of the load appears as it is observed at
different points along the length of the line. Specifically, we
are interested in how it appears when it reaches the coaxial
feedline (commonly referred to as the "tap"). Once again, this is
identified as (d,e) in fig 1.
The contour representing the change that occurs, is a circle
centered on the chart (which is why we normalized the chart to
300 ohms) with a radius equal to the VSWR or mismatch at the
load. Coincidentally; this also happens to be the normalized
impedance value of 16.67. One of the subtle, yet powerful,
attributes of normalization. The circle is drawn in fig 2.
Once again in fig 1, we notice another section of 300 ohm
transmission line (d,e,f,g) which is connected across the
feedline at one end (d,e), and shorted at the opposite end (f,g).
We can also show that the length of this section of transmission
line is much less than a quarter wavelength. A transmission line
is often used in this way to simulate a shunt inductor. It's
inductance (and therefore its inductive reactance) increases with
increasing length up to the point where it becomes greater than
a quarter wavelength. At this point it would appear as a
capacitive reactance.
But now we have a slightly different problem.
The Smith chart shown in fig 2 is an impedance plot, and the
lines of reactance represent the paths that are followed for
series connected reactive components (inductors and capacitors).
We now need a way to represent these components when they are
connected in shunt with the feedline.
A minor adjustment of the Smith chart will put us on the
right track and enable us to evaluate the effects of parallel or
shunt connected reactive components. Once this adjustment is
made, we can illustrate how simply the J-pole is matched.
Fig 3 is a Smith chart, that represents admittance
coordinates. In a simple minded way, this is the shunt
equivalent of series impedance. It can get a bit confusing
however, since the world of the Smith chart is quite literally
turned upside down. The numerical values are changed and become
the reciprocal of their impedance counterparts. Even the
terminology is changed. The reciprocal of resistance is called
conductance, the reciprocal of reactance is called susceptance
and the units used are the mho (ohm spelled backward... as if
that's supposed to make our lives easier.) Mathematically, this
can become quite exhausting, but the Smith chart makes this
child's play.
The conversion process is to first rotate the impedance
chart half a turn. This now becomes an admittance chart.
Next we again plot the location of the load and source,
(unless we can devise a way to rotate the chart without changing
the location of the impedance points.) This is normally done with
a compass and a ruler. With the compass at the center of the
chart, extend the compass to each point, and mark the chart at
the exact distance but diametrically opposite on the chart (i.e.
at the same distance from the center but 180 degrees away). This
has been done correctly if the old point, the new point and the
center of the chart form a straight line, and both points are the
exact same distance from the center of the chart.
I have done this for our example (Phew!) and the result is
shown in fig 3. The new points have been converted to
their respective admittance coordinates and are now in normalized
units of mhos. Since we are working with a chart normalized to
300 ohms, the admittance chart becomes normalized to 1/300 or
3.33 millimhos (.003 +j0 mhos). I could have told you to turn
the magazine upside down and stay with fig 2. That is the
process normally used in practice, since there is no real need to
use a second chart (or a second magazine for that matter.)
If you're having trouble keeping up with all this, don't
worry too much about the numbers and concentrate on the chart
manipulations. This makes the job easier.
The circle of constant VSWR is unchanged by the conversion
from impedance to admittance coordinates, and this circle is
again drawn in fig 3.
The effect of the shorted transmission line section can now
be plotted as an inductive susceptance. This inductive
susceptance must trace a line of constant conductance equal to
the conductance of the source if the antenna is indeed matched at
that point. The locus of points that describe the line of
constant conductance equal to the conductance of the feedline is
shown in fig 3. Notice that this locus of points and the
constant VSWR circle intersect (at two points). I will show that
a necessary condition for matching the J-pole with two
transmission line sections is that these two lines intersect in
the -j region.
The contours also intersect in the +j region as well, but we
are not concerned with that intersection. For completeness, a
shunt open circuited stub (capacitive susceptance) would be
required to match from that intersection.
Moving along the transmission line, fig 1 (b,c,d,e),
away from the antenna, and toward the feedline, the antenna
admittance follows the circle of constant VSWR ( fig 3). This
continues in a counter-clockwise direction starting from the
load, until it intercepts the line of constant conductance at the
point marked (6 -j7.96). This is where the feedline is connected
to the J-pole fig 1 (d,e).
The point where the contour lines intercept is capacitive.
This capacitance must be cancelled by an inductive susceptance
equal in magnitude to the capacitive susceptance at this point
in order to achieve a pure resistance (reactance free) match to
the feedline.
A shorted length of 300 ohm transmission line
fig 1 (d,e,f,g) is shunted (connected in parallel) across the
feedline fig 1 (d,e). The length is
selected to provide the correct amount of inductive susceptance.
With this accomplished, the network (antenna, series connected
transmission line, and shunt connected shorted transmission line)
is thus matched to the feedline. It's really that simple. Fig 3a is provided for clarification of these
two maneuvers. YAnt represents the load (antenna)
admittance. Yf represents the feedline admittance.
Fig 4 is a Smith admittance chart now normalized for 600
ohm transmission line with a plotted constant VSWR contour (VSWR =
8.33) for an end-fed halfwave dipole (0.12 mhos normalized), and
the locus of constant conductance for 50 ohm feedline (12 mhos
normalized). Note that the contours fail to intersect. In this
situation, the end-fed halfwave dipole cannot be matched with the
simple matching network just described. Popular opinion seems to
support the contradictory notion that "the higher impedance
the better".
The maximum impedance where the two lines intersect is found
by computing the square root of the product of the feedline and
antenna feedpoint impedances. In this case the square root of 50
times 5000 or 500 ohms. A quarter wavelength transmission line
of 500 ohms would precisely match the halfwave dipole, and a
tuning stub of any length (shorted or otherwise) would not be
required.
J-poles fabricated from open wire 450 ohm transmission line
appear to be favored over 300 ohm twin-lead; so what gives? The
answer in part may be due to our assumptions. For the 300 ohm
case just presented, I assumed an end-fed halfwave dipole
impedance of of 5000 ohms (a reasonable assumption based on
W1ICP's design). An analysis based on 450 ohm transmission line
demonstrates that this assumption remains valid. It turns out
however; that a design based on 450 ohm line is not as forgiving
of errors in the assumptions.
For example, if the antenna feedpoint impedance is less than
4000 ohms, the contour pair would not intersect, and matching
would not be as straight forward. For comparison, the antenna
impedance would need to fall below 1800 ohms to create a
condition not easily matched with 300 ohm twin-lead. Therefore
the choice of 300 ohms provides a greater margin of error than
higher impedances. If, on the other hand; the antenna impedance
were significantly greater than 5000 ohms, the margin of error
would improve in both cases with the lower impedance case
maintaining the greater margin.
Additional research is required to accurately quantify the
feedpoint impedance for various lengths and gauges of wire and
tubing configured as end-fed radiators. Although it is clear
that 300 ohm TV twin-lead is superior to higher impedance lines,
my results are not sufficient to draw conclusions on the accuracy
of the assumed antenna feedpoint impedance.
By "adjusting the tap", the center conductor of the feedline
could attach to the matching section at a slightly different
height (higher or lower on the matching section) than the braid
(shield). This procedure along with some adjustment of the
antenna length would introduce a third transmission line section
in the model (by virtue of its non-symmetry). Perhaps, in this
way, one can compensate by introducing a small (but significant)
shunt resistance to achieve a match. This is lossy, and would
result in reduced antenna efficiency.
If this is how 450 ohm open wire ladder line is made to
work, the adjustment of the "tap" would be critical indeed.
I suspect that ladder line is favored over twin-lead because
of the physical differences. Most J-pole recipes dictate
adjustment of the tap to obtain good VSWR (a trial and error
process). This is more easily accomplished in the open wire
segments of ladder line.
The solid dielectric along the length of TV twin-lead makes
it difficult to adjust the point where the feedline is attached.
It is also difficult to perform many iterations of finding the
precise tap point before it begins to look ugly.
It's extremely important to know the velocity factor of the
transmission line used for the matching elements to accurately
compute the series and shunt transmission line segment lengths.
A J-pole constructed using the computed dimensions will
accurately define the correct position of the "tap", making
adjustments about this point inappropriate.
The optimum transmission line impedance for matching 5000 ohms to
a 50 ohm feedline appears to be about 300 ohms. This can be
shown by plotting contours as shown in fig 3 for normalized
values of 200, and 450 ohms. A line drawn from the center of the
chart to the outside rim and tangent to the contour of constant
conductance (equal in magnitude to the transmission line
admittance) is tangent at a point very close to the intersection
of the two contours. If 200 ohm transmission line were used, the
contour lines would intersect more to the left. For 450 ohm
transmission line, this would occur more to the right.
The significance of this is demonstrated by varying the diameter
of the line of constant VSWR. This produces the effect caused by
increasing (larger diameter VSWR circle) or decreasing (smaller
diameter VSWR circle) the antenna load impedance assumption.
Errors in assumed antenna feedpoint impedance (either too high or
too low), causes little if any change to the computed length of
the top (series) 300 ohm twin-lead matching section. A good
match is nearly guaranteed with the risk of a slight VSWR
degradation caused by the length error of the bottom (shorted)
transmission line section.
For the 200 ohm case, the length of the top section becomes more
critical. For the 450 ohm case, the length of the lower section
becomes more critical. Interestingly, the total length of the
overall matching section doesn't change significantly for either
case; given that they have equivalent velocity factors. It is
likely this attribute allows the iterative adjustment of the
"tap" to be successful. The adjustment simply becomes
increasingly critical as the transmission line impedance chosen
deviates either side of 300 ohms.
The conductors of 300 ohm parallel transmission lines have a
6 to 1 spacing to diameter ratio in air and would seem to be the
most optimal spacing for tubing versions of the J-pole. The fact
that this isn't observed doesn't impact antenna performance.
Smaller ratios reduce the characteristic impedance of the
transmission line, and can be arbitrary to some extent since
lower impedances can be used to match 5000 ohms to 50 ohms.
Closer spacings simplify fabrication with the trade-off being
against ease of adjustment. By virtue of its insensitivity to
measurement errors, and tolerance to wide variations in antenna
feedpoint impedance, 300 ohm transmission lines simply yield
designs which are easier to fabricate and tune.
It's your choice whether to adjust the tap or vary the
length of the dipole element. Both approaches are easily
performed on designs constructed from tubing, with the latter
being much simpler to perform on designs fabricated from
flexible transmission lines.
As parallel conductors get closer together electrically the
fields cancel more effectively and the transmission line radiates
less. This can be achieved in either of two ways; 1) lower the
frequency in which the transmission line is used (i.e. a given
physical spacing is a proportionally smaller fraction of a
wavelength with decreasing frequency), or 2) decrease the
physical spacing of the parallel conductors to a smaller fraction
of a wavelength at the desired operating frequency.
Total field cancellation is in fact only theoretical. For the
fields to cancel completely, the parallel conductors would have
to occupy precisely the same space.
An obvious benefit of using 300 ohm TV twin-lead versus higher
impedance open wire ladder lines (often advertised as superior
because of a false perception that it simplifies construction) is
that the former radiates less at any given operating frequency.
If it radiates less, the feedline itself is less susceptible to
RF currents induced by fields surrounding the twin-lead. With an
antenna properly matched to the feedline, the chances for
unwanted feedline currents are also suppressed. These
observations suggest TV twin-lead again appears to be a favorable
choice.
Coaxial cable is unbalanced transmission line in that the field
surrounding the center conductor is contained by the shielding
properties of the outer braid. It is a single wire transmission
line that utilizes the inside surface of the shield as the return
signal path. The effectiveness of the shield determines the loss
properties of the cable, with poor quality varieties exhibiting
severe radiation losses.
When interfacing balanced and unbalanced transmission lines,
there is always a danger that something will go awry. If the
antenna is not matched perfectly, antenna currents will flow
along the outside surface of the coax cable's shield producing
"hot spots" along its length. These act as parasitic
(power stealing) radiators that generally serve no useful
purpose. They can sometimes degrade or enhance the antennas
performance through destructive or constructive interference. In
general, the energy is absorbed or otherwise dissipated. Whether
routed through conduit, behind walls, under carpets etc.; the
coax is generally not well positioned to be effective or
beneficial as a parasitic radiator.
To cancel these ill effects, a balun (balanced to unbalanced
transformer) is often employed. Alternatively; forming a small
coil in the coaxial feedline at the point where it connects to
the antenna, serves to electrically isolate (choke) the
feedline's outer conductor from reflected energy that would
otherwise propagate along the feedline and radiate.
For the purist, a J-pole would most certainly employ a
balun. This is generally perceived as good engineering practice.
However; if a good match is achieved, feedline currents can be
kept to a minimum. Small currents induced on the feedline are
sacrificed as a mismatch loss with little if any radiation
pattern distortion. Both effects are negligible. A 1.5:1 VSWR
for example produces a mismatch loss that reduces the effective
radiated power by less than 0.2 dB (only about four percent).
Even a well designed balun introduces loss and adds complexity to
the design. Good performance reports and a general sense of
satisfaction from J-pole users likely contribute to the reason
why baluns are rarely used.
While on this subject; I did experiment with the feedpoint to
determine whether it made a difference if the center conductor
were connected to the short leg or long leg of the J-pole. I
anticipated that this wouldn't matter. I observed that the VSWR
changed slightly, but I could net it back with a minor adjustment
to the length of the halfwave dipole element. I concluded that
this "fine tuning" is appropriately attributable to my
inability to connect the stub at exactly the same points when
reversing the connections.
A noteworthy observation however was an apparent change in
feedline current. This condition (observed as VSWR fluctuations
while wandering about the shack in the vicinity of the feedline)
changed perceptibly with the center conductor connected to the
short leg, fig 1 (d). The change was only
slight when the center conductor was connected to the long leg,
fig 1 (e). From that observation, I
recommend connecting the coaxial center conductor to the long leg
with the braid connected to the short leg. In that
configuration, the J-pole appears to exhibit the best behavior
with respect to unwanted feedline currents.
The reflected current on the short (unconnected) leg is
controlled solely by the accuracy of the matching sections
construction. The reflected current on the leg connected to the
dipole element is a function of any residual mismatch to the
antenna. Of course if a balun were used, the antenna feedpoint
connections would be on the balanced side of the transformer. In
that case, the way in which the J-pole is connected would make no
difference.
Much of the literature describing J-pole construction from tubing
(e.g. copper plumbing stock) recommends earth grounding at this
point for roof and tower mounted applications. The J-pole
doubles as a lighting rod in those applications, and serves as a
low impedance shunt of static energy at levels considerably below
strike potential during transient electrical storms. This
results in a cone of protection with the tip of the J-pole as the
apex of the cone. It is extremely important to note that a very
low impedance connection to an earth ground reference is
critical. Avoid making connections to cold water pipes inside
the house, and connections of dissimilar metals (e.g. copper and
aluminum) or you may be inviting trouble.
The shorted matching stub also performs as a low frequency bypass
(or short circuit) across the antenna terminals of connected
radio equipment. Protection from static discharges via the
antenna port is provided if you don't practice disconnecting your
antennas when your station is not in use.
By "grounding" the J-pole shorting bar, we are in
effect attempting to place it at the same electrical potential as
the braid side of the feedline coax. Although both points are at
zero potential (voltage), the currents are out of phase with each
other by 90 degrees. For two points to be electrically
equivalent, voltage and current must be equal in phase as well as
in amplitude.
I will use fig 1 to explain how this
becomes a problem.
If both, the coaxial braid (d), and the shorting bar (f,g), are
at zero potential; ground current is inhibited from flowing in
the J-pole conductor between points (d) and (g). Consequently,
the shorted stub at the base of the J-pole (d,e,f,g) is unable to
behave as a balanced transmission line. Current flowing on the
side connected to the center conductor (e,f) attempts to induce
an equal and opposite current component on the side connected to
the shield (g,d), but needs to create a potential difference
between the points (g) and (d) to do so. This requirement
conflicts with keeping them at the same potential, and the
transmission lines balance is destroyed.
Because the Conductors that make up the shorted stub (e,f), and
(g,d) are in parallel and in proximity to one another; and
because they provide an RF current return path to the feedline at
(d), current flowing in (e,f) finds it has two parallel return
paths to earth ground. Hence a ground loop is created, with RF
current induced in the earth ground reference return wire, as
well as the outside of the feedline coaxial cable shield.
Both of these conditions are undesirable, and make the
performance of the J-pole unpredictable. Both are easily
corrected by introducing a balun where the feedline connects to
the antenna. Without a balun, attempting to get a stable VSWR
measurement much less a good match will become quite frustrating.
J-poles constructed from plumbing hardware are frequently shown
with the feedline routed through the center of the tubing to
isolate or shield it from the radiating portion of the antenna.
This technique may prove effective at keeping RF current from
conducting along the outside of the feedline shield, but it is
not a balun. Electrically connecting the shorting bar to an
earth ground reference attempts to force two points on the J-pole
to the same electrical potential, and the two conditions just
described will result.
If grounding to an earth ground reference at the antenna is not a
requirement, the J-pole will work well without a balun, and
routing the feedline coax through the center of the tubing may
prove beneficial at reducing feedline currents, and makes a clean
installation.
The velocity factor is of critical importance when using
transmission lines as matching elements in order to accurately
determine the physical length required to obtain desired
electrical characteristics as a circuit element (i.e.
inductance, capacitance or phase rotation).
The velocity factor I used in the analysis of W1ICP's design
was a rough estimate with the assumption that it was between .82
(the published velocity factor for 300 ohm twin-lead), and 1.0
(free space).
The accuracy with which the velocity factor is known is
perhaps the sole nemesis of most J-pole designs. Strangely
enough, this appears to be the design parameter most often
ignored. Due to the relatively short wavelengths at VHF and UHF
frequencies, velocity factor is easily measured and I have
appended a procedure for performing this task. The antenna
tuning procedure can compensate for slight velocity factor
errors; but to ensure predictable results, this parameter should
be accurately known.
First; this manufacturer offers a moderately large selection
of 300 ohm TV twin-lead products that vary in dielectric
properties as well as physical construction. Physical variations
range between flat solid construction (generally the lowest cost
varieties) to solid jacketed foam designed for lower transmission
losses. Varieties also vary in the construction of the region
between the parallel conductors.
Although the dielectric constant of a given insulating
materials "recipe" may be of some nominal value (.66 or .82 for
solid versus foam varieties respectively), the density
of the material as well as the various combinations of solid and
foam dielectric used in the manufacturing process of each
variety all play a role in the resultant velocity factor.
Perhaps the most significant result of my investigation was
the discovery that velocity factor is neither known, nor
controlled per se' in any of that manufacturers 300 ohm twin-lead
products. One of the design engineers shared the results of a
velocity factory measurement collected several years back in
response to a customer query. He also told me that their
manufacturing processes are focused on controlling the impedance
and loss properties alone. He recommended that I perform these
measurements on my own.
As a consequence of this discovery, one would be well
advised to measure the velocity factor of 300 ohm television
twin-lead targeted for use in any J-pole design.
Once again in contradiction to the belief that the higher
the impedance of the transmission line used for J-pole matching
the better; quite the opposite is true. The sensitivity to
errors in velocity factor decreases with decreasing transmission
line impedance. The proof of this can be seen by plotting three
test cases on a Smith chart for impedances of 200, 300, and 450
ohms and introducing plus and/or minus 1 percent changes in
velocity factor for each case.
This may be the reason that bygone era J-pole designs as
well as many of the current plumbing hardware designs are closer
to 200 ohms. At the price of a slight increase in sensitivity to
errors in antenna feedpoint impedance (which can be varied by
adjustments to its length), sensitivity to velocity factor is
reduced. This trade-off appears to be reasonable.
300 ohms still remains the optimal impedance choice.
Velocity factor of any given transmission line can be easily
measured to a high degree of accuracy; thus reducing this error
source to near zero.
Awareness of the importance of velocity factor, the use of a
structured and reliable antenna tuning procedure, and a balun (if
earth ground referencing is necessary) are all that is needed to
guarantee reliable and repeatable success.
The velocity factor for a wide assortment of transmission lines
can be found in most of the ARRL publications. Do not assume
your J-pole design efforts will lead to success if you use the
published numbers. Measure this on your own at any convenient
frequency, but making the measurement at VHF or UHF will minimize
the amount of material sacrificed for the measurement. The
results vary only slightly with frequency, and are attributable
to the ratio of line spacing with respect to wavelength.
A small but measurable increase in velocity factor may be
observed at HF where conductor separation is a smaller fractional
wavelength, and the influence of dielectric material between them
is not as strong. The twin lead used in my experiments exhibited
a velocity factor of 76.5 percent at 146 MHz, and 76.9 percent at
28 MHz.
I was running low on my supply of twin-lead anyway, so I decided
to buy a new batch and determine how much velocity factor varies
between types.
First; I discovered the local Radio Shack carried twin-lead under
the exact part number of that which I purchased in Maryland some
6 or more years earlier. This meant I would be able to assess
the variations from batch to batch.
Second; the measured velocity factor was exactly equal to that
which I measured on my old batch to within plus or minus 0.1
percent; the limits of my ability to measure this parameter
repeatably.
Recalling that the vendor I consulted informed me that only the
impedance and loss parameters are controlled on their products, I
was quite surprised by this "coincidence". Velocity
factor is hardly a critical parameter for consumer television
antenna installations, so it's unlikely Radio Shack's supplier
makes any attempt at controlling its bounds.
A quick review of the transmission line equations reveals that
the phase constant of any given line is a direct function of
velocity factor which is the phase constant modified by the
dielectric properties of the medium. The phase constant sets the
conductor spacing to diameter ratio which itself must be held
uniform and constant along the length of the transmission line in
order to maintain the constant L/C ratio that establishes the
characteristic impedance of the line.
The inference from this observation is that a tightly controlled
characteristic impedance (independent of loss) must by necessity
maintain some level of control over velocity factor. This seems
plausible since conductor diameter and spacing is more easily
held constant, and not likely varied by some criteria to
establish uniform characteristics during manufacturing.
This discovery may explain why localized cookbook designs seem to
gain popularity as being easy to clone, while published versions
receive mixed reviews. The local clubs are using TV twin-lead
obtained from a common (probably the same) source, and cloaning
success is nearly guaranteed. This control is lost when the
design surfaces elsewhere, and an otherwise reliable recipe gets
a bad rap.
A consequence of this discovery is that those who wish to procure
TV twin-lead from Radio Shack and embark on building a J-pole,
should be able to do so with reasonable confidence that the
velocity factor of "Super Low-Loss Foam TV Twin-Lead
Cable" (Radio Shack Cat. No. 15-1174) is 0.769. The risk
of my being wrong on this prediction is that you will need to
measure the velocity factor of your batch and perform the
calculations based on the value you obtain from your
measurements.
I would like to hear from anybody who attempts to evaluate the
same material and obtains more than half a percent deviation from
my measurements. If you are using something other than
"Cat. No. 15-1174", you should anticipate different
results.
A QSL from those whose independent findings confirm or contradict
those reported here will be warmly received.
For completeness, it seems reasonable to assume that velocity
factor for a given brand and style of twin-lead needs to be
determined only once. As long as the brand or style is not
changed, the number should remain valid. Since the velocity
factor is, for the most part, independent of frequency, the
construction of J-poles on other bands can be scaled with good
success. Those attempting to clone the G5RV or other Zepp
derivative will benefit from this knowledge as well; since
velocity factor is most conveniently measured at VHF or UHF, and
verified at HF to minimize waste.
A small but measurable increase in velocity factor may be
observed at HF where conductor separation is a smaller fractional
wavelength, and the influence of dielectric material between them
is reduced. The twin lead used in my experiments exhibited a
velocity factor of 76.5 percent at 146 MHz, and 76.9 percent at
28 MHz.
I have done a few experiments using 3500 ohms as my estimate
of feedpoint impedance on my 2 meter j-poles upon completing my
analysis, and found this actually seemed easier for me to tune,
so estimating on the low side for this parameter may not be a bad
recommendation.
For example; I might start with something like 2000 ohms,
and perform the calculations in 500 ohm increments up to 5000
ohms. This would give me pruning information so that if I were
unable to tune the antenna with the dimensions established for
2000 ohms, I would prune back on the stub to the dimensions
calculated for 2500 ohms, then 3000 ohms etc. Of course this
would require that I tune the dipole over a broad range so that
I was sure that I passed through it's resonant point (or
anti-resonant point in this case) before pruning back on the
stub each time.
This is a highly iterative process, and can be exhausting,
but unless you have a good feel for the feedpoint impedance of
your antenna some amount of trial and error may be required. I
encourage you to publish any information you derive from this
exercise, as it can save the rest of us from repeating the
process.
This may all sound frustrating, but in reality is quite easy
to manage. As for the stub length, all that is required is to
determine the new velocity factor for the twin-lead when it is
installed in the PVC tubing (or any dielectric for that matter)
that you wish to use, then proceed with the design as in the open
air case using the new velocity factor.
I ignored the contribution of dielectric loading when I
first packaged one of my twin-lead J-poles, and observed no ill
side affects. Antenna resonance dropped about 4 MHz from where I
initially tuned it, and a slight shortening of the halfwave
dipole element brought it back to 146 MHz. No special effort was
required to install the antenna in the PVC tubing, no
recalculating of lengths, no adjustment of the "tap", and no
perceptible change in performance. This testimony to the J-poles
tolerance to errors in fabrication illustrates the ease in which
the design can be "cloned".
We now have a question of historical significance; the
"chicken and egg" dilemma. Is the J-pole a fixed tuned
end-fed vertically polarized Zepp; or is the end-fed Zepp a
tunable horizontally polarized J-pole? The obscure way in which
the J-pole has evolved suggests it followed the Zepp. In either
case, the design and tuning procedures are identical. What's
more; their designer(s) had a keen grasp of efficient antenna
design criteria long before radio became a commodity, and long
before Smith Charts were available to simplify such tasks.
An antenna can be constructed using 450 to 500 ohm ladder line,
and neither the shorted stub nor a tuner would be required to
obtain a match. This would be the minimum or root form of the
Zepp. The ladder line is exactly one quarter of an electrical
wavelength in this case, and unless operation is only desired
over a narrow bandwidth, a balun would be recommended. The
antenna tuner permits tuning over a wide range (often several
bands), and is why that configuration of the Zepp is most common.
Significant feedline radiation is expected when operating on
frequencies where the "random wire" is not an exact
multiple of half a wavelength.
In general, end-fed Zepps unlike center-fed halfwave dipoles
are suitable for multiband operation on even as well as odd
frequency multiples. Care must be exercised in the selection of
feedline length however, to avoid lengths that are exact halfwave
multiples at one or more of the desired operating frequencies.
Such a condition would be difficult to tune, with the impedance
presented to the tuner approaching several thousand ohms.
The physical attributes of end-fed designs also provide more
installation versatility over their center-fed counterparts. For
example; it can be fed and anchored at the apex of a roof, while
only a single pole, tree, etc. is required at the opposite end.
Compare this with a typical center-fed dipole installation.
Careful selection of feedline length might enable an 80
meter longwire (halfwave on 160 meters) to operate satisfactorily
on all bands between 160 and 10 meters including the WARC bands.
Not having performed a detailed analysis of such a design
however; I offer no promise of performance. Care must be given
to trade-offs between antenna and feedline lengths, tuner
adjustment range, feedline radiation characteristics, and
acceptable performance compromises between the respective bands
of interests. I have done none of these, but see no glaring
reason why attempting this would not prove useful. The
information and analysis procedure presented here should provide
a good start on such a task.
The analysis and design of halfwave J-poles and end-fed
Zepps is identical. The pursuit of center-fed or multiband
versions of the Zepp designs should prove to be a rewarding
experience.
You can most certainly expect superior performance from any
J-pole over a rubber duckie, and because it is a halfwave
vertical radiator (end-fed in this case) it's performance should
be exactly equal to that of a properly designed, matched, and
tuned halfwave vertical dipole regardless of how it is fed. In
addition, halfwave antennas don't require a ground plane or
counterpoise as with quarterwave designs. As a result, radiation
efficiency, and elevation angle are more easily controlled. The
bottom line is that J-poles are end-fed halfwave dipoles of sound
electrical design.
Rubberized and stubby "duckies", quarterwave ground planes,
colinears, Yagis, LP's, et al. are separate and unique antenna
designs addressing specific system requirements; that if
properly designed, matched, and tuned, will meet the objectives
of their respective applications. The right antenna is the one
that fulfills your performance requirements most favorably.
The Ferrite Loop Antenna is wimpy if you wish to compare its
performance to quarterwave or halfwave dipoles for example.
Most of us are delighted with the Ferrite Loop for our broadcast
band AM portables however. When you consider walking around with
a 750 foot J-pole on your receiver, the sacrifice in performance
becomes a reasonable compromise.
Indeed; the "ducks" are poor performers when compared to
halfwave antenna systems. However; when your concerns are small
size, weight, eye safety, and portability, and when you lack an
available counterpoise (or ground plane) of any significance;
your concern for "optimal" performance may fall considerably
lower on your prioritized list of "absolutely must have"
features.
In a nutshell, the J-pole is an apple, and the rubber duckie
an orange. Any comparison of the two is meaningless, and would
only serve to cast an unfavorable shadow on a truly elegant
solution to a tough set of real world design criteria. It's
popularity speaks for itself.
In addition, the following was revealed:
First to my near and dear friend and mentor Dick Lodwig
(W2KK) for his unwavering and limitless encouragement; for the
countless times he attempted to teach me the utility of the Smith
chart, and for a unique and special affinity toward Root Beer, to
name but two of life's important lessons.
Next; sincere thanks to my new friend and work colleague
Chet Burroughs (KE4QNG) for allowing me to serve as his "Elmer",
and for asking the questions that led to my investigation into
the theory behind J-poles. His energy and enthusiasm has been
inspirational to me. He has enabled me to rediscover that
engineering is indeed a fun and interesting occupation.
Finally; my deepest gratitude must go to my most cherished
and loving partner and wife, Marie. She not only tolerated the
many evenings and weekends (often well into the early morning
hours) spent writing, rewriting, testing, and confirming the
results presented here; but she also graciously accepted my
negligence in keeping up with my chores. Her many sacrifices and
extra burden over the last several months have been shouldered
without reward. She shall always remain "The Wind Beneath My
Wings".
A feedpoint impedance of 5000 ohms was used as an estimate for
the impedance of an end-fed halfwave dipole element for my
analysis and experiments. The justification for this assumption
is based on results of an analysis of a successfully matched
(W1ICP) J-pole design. This value is likely an upper limit to
use, and this value will be high if large conductors such as
copper tubing are used.
A velocity factor of .769 for "Super Low-Loss Foam TV
Twin-Lead Cable" (Radio Shack Cat. No. 15-1174) was used in my
experiments. This parameter is quite critical, and should be
measured if it is not known.
The impedance and admittance calculations are simplified
whenever possible by ignoring the complex component when it is
zero (i.e. +/- j0).
The feedline admittance can now be expressed as YF = G +j0
mhos in its complex form.
The equation yields two roots that differ only in sign. The
negative root represents the capacitive susceptance, that is to
be canceled by the shorted stub.
The conductance (G) calculated in step 3, along with this
susceptance (B), defines the admittance (Y) which is plotted on a
normalized admittance chart as:
To this point, the frequency or band of operation for which
the antenna is being designed has not been considered. This
means that you can build the J-pole (or Zepp) for any band you
wish. By saving the calculations made thusfar, you can simply
scale the results to the frequency of your choice.
The procedure ensures that the adjustments efficiently and
reliably converge on an optimal match, and ensures that the
antenna is not inadvertently cut too short. As a consequence, it
will sometimes require several iterations for new antenna
designs. Once a design has been completed, clones of that design
can be cut only slightly longer than the original (to allow for
tolerance errors), and the procedure will converge after only one
or two iterations.
The procedure works equally well for fractional or multiple
wavelength antennas as well (short verticals, 5/8 wave
groundplanes, longwires, etc.), and is in no way limited only to
J-poles.
RX noise bridges are available for a very reasonable price
and work well on 10 meters and below. These are excellent tools
for measuring an antennas impedance characteristics while not
requiring transmissions to facilitate the measurements. These
devices permit performance measurements at frequencies outside
the amateur bands, and result in a faster convergence on the
final solution. They are preferred over VSWR bridges for making
antenna measurements below 50 MHz.
Alternatively, and at frequencies above about 50 MHz,
reasonably priced test equipment is typically found in the form
of a VSWR bridge or directional wattmeter. The transmitter must
be operated in order to perform measurements with this equipment.
When making VSWR measurements be sure to restrict the
transmitting limits to those for which you are licensed. Always
identify your transmissions during testing using an operating
mode authorized for the frequency in use. I prefer CW, since it
not only facilitates making the measurements themselves, but also
because CW is permitted when other modes are not.
Finally, be respectful to other users of the spectrum while
you are performing these procedures. Listen first to avoid
interfering with communications in progress. Use only enough
power to enable you to obtain a reliable indication of VSWR.
I. A common practice is to fold back the antenna against
itself by the amount calculated. Once it has been
determined that the antenna has not been shortened
excessively, it is then cut to this length prior to the
next increment. A telescoping dipole element is
recommended for J-poles constructed from tubing or
plumbing stock.
II. For end-fed antennas like the J-pole, the antenna is
shortened the amount calculated by folding back (or
cutting) the end opposite that which is matched to the
transmission line (i.e. the top). For designs like
center-fed halfwave dipoles and inverted vees, the
antenna is shortened half the amount calculated at each
of the two dipole ends. This technique is used to
maintain symmetry of the dipole about its feedpoint.
Velocity factor can be anything between .6 and .95, depending
on the transmission line used and doesn't appear to vary between
batches from the same manufacturer for the same part number.
Very low quality transmission lines may not exhibit this
stability however, and should be verified if in doubt.
The following procedure is offered as a means for determining
the velocity factor of your transmission line using only a dummy
load, a VSWR indicator, and your transmitter. Obviously; if you
own an antenna analyzer capable of performing this measurement
directly, the procedure is greatly simplified, and this appendix
can be ignored.
Newcomers who wish to
attempt measuring the velocity factor of their transmission line
should recruit the assistance of an experienced Elmer to ensure
the test fixture used is reasonably free of parasitics.
I used SMA series subminiature connectors with adapters to BNC,
but only a purest would come up with an argument to suggest this
is a requirement. However; care must be taken to keep leads
short and connections electrically and physically stable. The
use of a carefully designed test fixture ensures this is
achieved.
Be sure to pay careful attention to lead lengths, line to ground
spacing, and good soldering practices. If you don't have
confidence in your skill or that of your Elmer, use the published
velocity factor for the transmission line nearest in construction
and material to compare your results. If you fail to obtain a
measurement to within a few percent of the published data, you
should question the quality of your measurements, and seek a
second opinion. Of course the result should always yield a
number less than unity. Quite simply, the velocity factor is a
number that represents the ratio of a physical length of
transmission line to the propagation distance in free space that
exhibits an equivalent electrical delay (360 degrees per
wavelength.)
A shorted length of transmission line equal in electrical degrees
to an odd multiple of a quarter wavelength exhibits an open
circuit impedance at its input. At even multiples however, the
circuit once again appears as a short circuit. Thus, a shorted
half wavelength stub will present a zero impedance at it's open
end. This repeating short circuit property is used to determine
velocity factor.
It is best to perform these measurements near the frequency
where operation is desired, but for HF applications, it may be
more convenient to make them at a higher frequency (e.g. two
meters), then verify the results at the desired operating
frequency. If higher precision is desired on HF, use the
velocity factor determined at a higher frequency to provide a
more precise sample size estimate for the HF measurement.
Making the measurements at VHF or even UHF will result in
less waste of transmission line, since the length of a half
wavelength sample becomes shorter with increasing frequency. The
accuracy of the measurement at VHF or UHF should be adequate for
most applications, and changes only slightly with frequency.
For TV twinlead, and transmission lines with a solid and
continuous insulator separating the conductors, use .85 or .80 as
an initial estimate.
Published data for most varieties of coaxial cable may prove
to be a reasonable estimate for those transmission lines, but
start with a length just slightly longer than you expect, to
ensure your sample doesn't start out too short.
You can always start with an estimate of 1.0 to be on the
safe side, but don't get alarmed by the need to perform a few
iterations of this process. For example, if the velocity factor
of your transmission line is .70, you will be end up reducing a
full length (half wavelength in free space) sample by 30 percent.
If the Minimum Reference VSWR occurred at two nearby
frequencies; repeat Steps 1 through 13 at a measurement frequency
far removed (a few percent) from the initial test frequency to
resolve the ambiguity.
It is also wise to verify the accuracy of the computed value, by
attempting to construct a stub at a frequency slightly higher
than where the current sample is resonant. This will require a
shortening of the sample and will minimize waste. This exercise
should produce a new stub length that resonates very close to
where you predict.
*********************************************************************



THE MYSTERY SOLVED
With the two end points (load and source) identified on an
admittance chart, only two operations are needed to disclose how
a match is achieved for the J-pole.

REVELATION ONE
If the length of the series section of transmission line is added
to that of the shorted stub, the sum is actually greater than an
electrical quarter wavelength. It is commonly believed that the
J-pole is matched with a tapped quarterwave matching stub.
REVELATION TWO
Now that we have a method with which to analyze the J-pole, we
can show how the antenna is more easily matched with 300 ohm TV
twin-lead than when using higher impedance open wire ladder
lines.

REVELATION THREE - 6:1
Anticipating that a question might arise about the impedance
of J-poles designed with tubing materials, I selected a few of
those designs to determine the impedance of their "stubs". In
every case, the spacing to diameter ratio was between 2.4 and
3.0. This puts the impedance of the transmission line sections
at 188 to 214 ohms respectively. It's interesting that the need
for higher impedance transmission line stubs has become popular
with 450 ohm ladderline favored over 300 ohm TV twinlead.
REVELATION FOUR
Once the matching sections are defined and constructed,
tuning the J-pole is simply a matter of tuning the dipole element
to resonance. This is the same tuning procedure used to tune
center-fed dipoles, inverted vees, verticals, etc., and is a
straight forward process. For the benefit of the many newcomers
to the hobby, I have documented this procedure, and included it
here as a Appendix B.
REVELATION FIVE - THE CLOSER IT GETS, THE BETTER IT LOOKS
Parallel conductor transmission lines when properly terminated in
their characteristic impedance efficiently transfer RF power from
source to load suffering little signal loss due to radiation.
They are called balanced transmission lines because fields
created by current propagating out on one of the conductors is
matched in opposition by fields created by the return current
propagating in on the adjacent conductor. If there is negligible
loss imbalance on either side of the transmission line, the
resultant fields are equal and opposite and thus cancel at all
points along the line. With the fields reduced to near zero,
losses due to radiation are minimized.
A BALANCING ACT
The J-pole is designed with a balanced feed. This is a
transmission line statement that relates to its construction.
Parallel open wire transmission lines are balanced by virtue of
the fields surrounding the parallel conductors canceling to zero
for lossless lines. A transmission line balanced in this way
does not radiate but delivers nearly all its input energy to the
load. Real world parallel transmission lines exhibit small but
finite losses.
THE SAME BUT NOT EQUAL
It is widely accepted that since voltage goes to zero in a
short circuit, the shorted end of a transmission line is
electrically at zero potential or virtual ground. In theory, the
voltage goes to zero at a single point located at the midpoint of
the shorted end of the transmission line. It seems intuitive and
reasonable that this point can be connected to any convenient
earth ground reference. This is only true if the shorted section
of the transmission line were an exact multiple of a quarter
wavelength. In fact; this short is at the electrical (as well as
physical) midpoint of the feed where the current (and voltage) is
phase shifted by 90 degrees. It is best modeled as the centertap
of an inductor shunted across the feedline terminals.
SLOWING DOWN A BIT
Radio waves propagate along a transmission line slower than
in free space or air. The difference in the speed of propagation
is called velocity factor and varies as a function of the
dielectric properties of the material used in the construction of
the transmission line. This parameter is needed in order to
define a transmission lines physical length with respect to its
electrical length.
REVELATION SIX - Caveat Emptor
I contacted a popular U.S. manufacturer of television
twin-lead products to obtain an estimate of velocity factor
tolerance in the manufacturing process, and made yet another
revealing discovery.
REVELATION SEVEN (two surprises)
I was further advised that I should anticipate variations of a
few (perhaps as much as 5) percent from batch to batch; and
possibly larger variations when switching between vendors, for
any given transmission line style. To validate my claim, I
introduced a 5 percent error in this parameter and was unable to
achieve a satisfactory match. This can also be confirmed
analytically using a Smith chart.
A NOTE ABOUT FEEDPOINT IMPEDANCE
Because it is difficult to install HF antennas many
wavelengths above ground, they are likely to exhibit feedpoint
impedances considerably lower than 5000 ohms. I substituted
lower impedances in place of 5000 ohms in my calculations, and
discovered that the only significant change was that the shorted
stub (shunt inductance) increases as the antenna impedance
decreases. Although I have yet to confirm this in practice, it
seems reasonable that one should assume an antenna feedpoint
impedance lower than expected, then shorten the stub length if a
good match is not unobtainable.
GET A LOAD OF THIS!
Packaging twin-lead in a length of PVC tubing for mechanical
rigidity creates a plethora of mounting options and expands the
utility of this variation of the twin-lead derived J-pole. Not
unexpectedly, the electrical characteristics are modified by the
PVC's dielectric loading properties which effectively lowers the
resonant frequency of the antenna, as well as the velocity factor
of the matching stub. The dielectric loading effectively lowers
the velocity factor, so the "open air" or free space value is no
longer valid.
TWO FOR THE PRICE OF ONE
Had we decided to forego using a shorted transmission line
across the feedpoint and instead installed an antenna tuner, we
would have what is commonly referred to as an end-fed Zeppelin or
Zepp [10]. The Zepp is another one of those antennas that seems
to be universally misunderstood. The G5RV is a center-fed
derivative of that design only loosely related to the end-fed
J-pole.
JUST DUCKY! - IN DEFENSE OF A CLASSIC
Interestingly, the J-pole gets rave reviews from its new
owners who often compare it with the "rubber duckie" they have
come to know and hate. In fairness, I thought it prudent to
comment on how the J-pole might compare with the competition.
THE FINAL CURTAIN
In summary, a J-pole:
BEHIND THE SCENES
Gratitude can hardly compensate those who have been
instrumental in my success; those who have motivated, and
encouraged me in the development of this work. Nonetheless, I
wish to express that gratitude.
BIBLIOGRAPHY
APPENDIX A - DESIGNING A J-POLE
N3GO
GETTING STARTED
The procedure requires a number of input parameters or
reasonably close estimates:
THE CALCULATIONS
Equation A1:
ZP = ZA/Z0
ZP = the antenna impedance ZA normalized to the
impedance Z0 of the transmission line used
for the matching network.
Equation A2:
RHO = (ZP-1)/(ZP+1)
RHO = the antenna reflection coefficient.
(Note: admittance is the reciprocal of
Impedance.)
Equation A3
YF = Z0/ZF
YF = The feedline admittance 1/ZF normalized to
the admittance 1/Z0 of the transmission line
used for the matching network.
ZF = The characteristic impedance of the coaxial
feedline
Z0 = The characteristic impedance of the
transmission line used for the matching
network, to which all calculations are
normalized.
Equation A4
B = SQR((RHO*RHO*(YF+1)*(YF+1)-(YF-1)*(YF-1))/(1-RHO*RHO))
B = the capacitive susceptance that appears when
looking at the feedline end of the series
transmission line before connecting the shorted
stub element.
Y = YF -jB mhos (G -jB)
YF = the real component of the admittance
(Conductance)
B = the imaginary component of the admittance
(Susceptance)
preceded by a -j to indicate a negative or
capacitive susceptance.
Equation A5
X2 = -1/B (-1/B)
X2 = the normalized (inductive) reactance of the
shorted stub section.
Note: this is the negative of the capacitive reactance we
wish to cancel, and the capacitive reactance is
the reciprocal of capaqcitive susceptance.
Equation A6
L2 = ATN(X2)*(180/3.141592818#)
L2 = The length of the shunt (bottom) transmission
line matching section in degrees.
Equation A7
R = YF/(YF*YF+B*B)
X1 = B/(YF*YF+B*B)
R = The real part of the impedance (Z = R+jX) at
the intersection of the rho and G contours.
X1 = The imaginary part of the impedance
at the intersection of the rho and G contours.
This is the inductive reactance for which the
shorted stub must be designed.
Equation A8
L1 = 90-(ATN(X1)*(180/3.141592818))
L1 = The length of the series (top) transmission
line matching section in degrees.
Equation A9 - A in fig. 1
DIPOLE = 5606/F (Inches)
F = Design center frequency in MHz.
Note: The constant 5606 is 95 percent of the
speed of light in inches for half a wavelength at 1 MHz. This is
a common and widely accepted practice for terestrial based (i.e.
not free space) antenna designs. The velocity factor of balanced
transmissiion line is not considered here, as there are no
parallel and opposing fields to be influenced.
Equation A9 - B in fig. 1
SERIES = 32.78*V*(L1/F) (Inches)
L1 = The computed electrical length in degrees of
the series transmission line matching section
V = The velocity factor of the transmission
line used for performing the match.
F = Design center frequency in MHz.
Note: The constant 32.78 is the speed of light in
inches/degree/MHz.
Equation A9 - C in fig. 1
SHUNT = 32.78*V*(L2/F) (Inches)
L2 = The computed electrical length in degrees of
the shunt transmission line matching section
*********************************************************************
Click here for the Basic program that performs the J-pole design
calculations described in Appendix A.
*********************************************************************
APPENDIX B - TUNING WIRE ANTENNAS
N3GO
GETTING IN TUNE
Note:
If the VSWR is lowest at the lowest frequency and increases
with every increase in frequency, the antenna is too long
(i.e. it is resonant at some unknown frequency below that
which is desired) and needs to be shortened. The first set
of measurements should always produce this result, or the
antenna has been made too short. A negative value for
delta L indicates the antenna needs to be lengthened by the
amount calculated.
(Equation B1):
DL=(1-F1/F2)*(983.3/F2)
DL = Length reduction (in feet) required to make
the antenna resonant closer to the desired
center operating frequency. (A negative
number indicates a length increase is
required)
F1 = Frequency (In MHz) where VSWR is minimum
F2 = Desired Operating Frequency (In MHz)
Notes:
*********************************************************************
The BASIC program included here performs the calculations in
this appendix and was not included in the original manuscript.
*********************************************************************
*********************************************************************
Click here for the Basic program that performs the antenna tuning
calculations described in Appendix B.
*********************************************************************
APPENDIX C - MEASURING VELOCITY FACTOR
N3GO
THE SETUP
Start with a section of copper clad printed circuit board
material approximately 1 inch square or slightly larger to
accommodate the width of your transmission line and solder a pair
of RF connectors at opposite ends. This provides a physically
and electrically stable test fixture for mounting lengths of
transmission line to be measured. MAKING THE MEASUREMENTS

Note: The measurements described here can be
made out of band if you are using a dummy load of high quality,
and if your transmitter can operate out of band and at reduced
power. You alone are responsible if you fail to avoid
interference. If in doubt, restrict your measurements to within
the limits of your operating privileges.
(Equation C1):
L=(V*5901.6)/*F (Inches)
L = Initial length estimate of transmission
line sample in inches.
V = Initial estimate of velocity factor of
transmission line sample. If in doubt,
use 1.0.
F = Frequency in MHz where measurements are
to be made.
Note: If the VSWR is lowest at the lowest
measurement frequency and increases with increasing frequency,
the stub is too long and needs to be shortened. The first set of
measurements should always produce this result, or the stub has
been made too short at the onset.
(Equation C2):
DL=(1-F2/F1)*(5901.6/F1) (Inches)
DL = Length change (in inches) required to
make the stub resonant closer to the desired
center operating frequency (A negative
number indicates a length increase is
required.)
F1 = Desired Operating Frequency (In MHz)
F2 = Frequency (In MHz) where VSWR is lowest
Note: Minimum VSWR does not need to occur at
the desired operating frequency for the purpose of determining
velocity factor. However; the frequency where the VSWR most
closely matches the "Minimum Reference" VSWR must be
determined as precisely as possible.
Note: If two frequencies are found that meet
this criteria, the calculations that follow will need to be
performed for both measured values. In addition; this same
exercise will need to be repeated at a second frequency (using
the larger computed velocity factor for the initial velocity
factor measurement in Equation C1). Two of the four measurements
should be very close to the same value, while the remaining two
are considerably different and unique. The value that is
consistent for both measurement exercises is the true velocity
factor, and the ambiguity is thus resolved.
(Equation C3):
V=(F2*L)/5901.6 (Inches)
V = Measured (actual) Velocity factor of
the transmission line sample.
F2 = Frequency(s) where the VSWR of the
transmission line sample matches that
of the dummy load alone when measured
at the same frequency.
L = The measured physical length (in
inches) of the shorted transmission
line sample used to perform the above
electrical measurements.
Note: The computed velocity factor (V) should
be a number less than 1.0, and will typically be within the range
of 0.6, and 0.9 in most cases. A computed value outside this
range should be questioned, and the measurements repeated to
ensure the result is repeatable.
The BASIC program included here performs the calculations in
this appendix and was not included in the original manuscript.
*********************************************************************
*********************************************************************
Click here for the Basic program that performs the velocity factor
calculations described in Appendix C.
*********************************************************************